找回密码
 立即注册
澳门威尼斯人
U8
U18
海燕招商
A
蓝盾
e世博
islot.
申博亚洲
B
开云
腾博会
德信
C级广告商
吉祥坊
华体会
查看: 10327|回复: 11

[足球推荐] 2025年09月23日17:00 日职联 鹿岛鹿角VS大阪樱花

 火.. [复制链接]

229

主题

3470

回帖

465

金币

银牌会员

积分
10770

老会员交易勋章

发表于 2025-9-23 16:13 | 显示全部楼层 |阅读模式

马上注册,结交更多好友,享用更多功能,让你轻松玩转社区。

您需要 登录 才可以下载或查看,没有账号?立即注册

×
推荐:大阪樱花+0.5
北京时间20259231700 将迎来日职联一场比赛,鹿岛鹿角迎战大阪樱花, 鹿岛鹿角本赛季的表现还是很牛逼的,目前都排在联赛第一,大阪樱花则是排名中游,目前也没有了争夺冠军的希望。
2-1.png
积分分析:
目前比赛进行了30轮,清水心跳当前取得了1848负的战绩拿到了58的积分,目前排名联赛第1,不过只领先第23分。对手大阪樱花本赛季取得了11109负的战绩,拿到了43的积分,目前排名联赛第9
2-2.png
战绩分析:
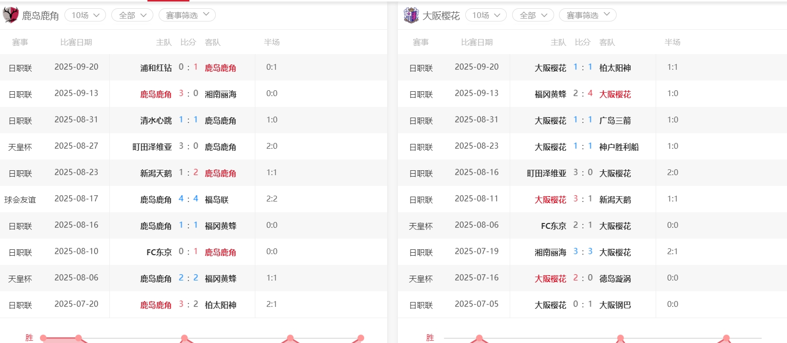
两队历史交手记录上,鹿岛鹿角面对大阪樱花近10场比赛取得了622负的战绩,还是鹿岛鹿角占据了绝对优势的。近十场比赛鹿岛鹿角取得了541负的战绩,状态感觉是比较不错了。大阪樱花近十场比赛同样取得了343负的战绩也是相当不错的。
2-3.png 2-4.png
盘口分析:
鹿岛鹿角本赛季相当强势,目前排名联赛第一,但是和第二名的差距不是很明显,大阪樱花本赛季基本上中规中矩,实力上还是鹿岛鹿角更强,不过主场作战盘口仅给到半球,不如支持大阪樱花客场全身而退。
推荐:大阪樱花+0.5
- ]2 Z9 J& b. C" O% g
fakename.png

6 z  O& F- V' B- I3 [+ O4 D8 i7 G+ Z9 i
回复

使用道具 举报

480

主题

3万

回帖

4665

金币

铂金用户

积分
84327

老会员美女勋章勤奋勋章交易勋章

发表于 2025-9-23 16:14 | 显示全部楼层
这场的两个球队差距不大,打出来平局也是有可能的
回复 支持 反对

使用道具 举报

3597

主题

6万

回帖

5810

金币

海燕硕士

积分
203735

万时之王老会员勤奋勋章交易勋章

发表于 2025-9-24 07:50 | 显示全部楼层
3-1主队很给力打出来赢球了,楼主的推荐客队受让盘口输掉了
回复 支持 反对

使用道具 举报

3597

主题

6万

回帖

5810

金币

海燕硕士

积分
203735

万时之王老会员勤奋勋章交易勋章

发表于 2025-9-24 07:50 | 显示全部楼层
初秋2323a 发表于 2025-9-23 16:14& q  ]% z' ?' {( \! j* z$ A
这场的两个球队差距不大,打出来平局也是有可能的

3 d* e" `2 ^/ V. E0 X7 b主队这一场比赛还是发挥好一点了,主场作战轻松打穿了盘口赢盘了
回复 支持 反对

使用道具 举报

1359

主题

5万

回帖

7779

金币

钻石用户

积分
153615

万时之王老会员勤奋勋章交易勋章

发表于 2025-9-24 10:42 | 显示全部楼层
鹿岛鹿角3-1大阪樱花楼主的推荐也是遗憾的挂壁了 安慰一下楼主的啊
回复 支持 反对

使用道具 举报

1359

主题

5万

回帖

7779

金币

钻石用户

积分
153615

万时之王老会员勤奋勋章交易勋章

发表于 2025-9-24 10:42 | 显示全部楼层
初秋2323a 发表于 2025-9-23 16:14
7 z7 F, ^: w* G/ ^& m6 R3 W这场的两个球队差距不大,打出来平局也是有可能的

  ^$ n# Y2 o  }: @8 `; Z大阪樱花的实力也是很一般的 这次输球输盘也是预料之中的事情
回复 支持 反对

使用道具 举报

1359

主题

5万

回帖

7779

金币

钻石用户

积分
153615

万时之王老会员勤奋勋章交易勋章

发表于 2025-9-24 10:43 | 显示全部楼层
dollar 发表于 2025-9-24 07:50, ~! P7 B3 }( c- O1 R6 Y
3-1主队很给力打出来赢球了,楼主的推荐客队受让盘口输掉了
2 j/ I) Z: I% r1 ?2 I/ a0 u
鹿岛鹿角的实力是非常强悍的 楼主这次去下盘也是很危险啊
回复 支持 反对

使用道具 举报

1359

主题

5万

回帖

7779

金币

钻石用户

积分
153615

万时之王老会员勤奋勋章交易勋章

发表于 2025-9-24 10:43 | 显示全部楼层
dollar 发表于 2025-9-24 07:50& p+ _. C$ e  e) O; g
3-1主队很给力打出来赢球了,楼主的推荐客队受让盘口输掉了
5 X5 R' l8 C' H- ]- f5 y$ |# V) v
楼主的推荐黑一场也是无法避免的 期待楼主明天可以赢盘啊
回复 支持 反对

使用道具 举报

523

主题

6万

回帖

1万

金币

海燕硕士

积分
215858

老会员精华勋章美女勋章勤奋勋章交易勋章光影行者万时之王魅力达人

发表于 2025-9-24 10:57 | 显示全部楼层
鹿島鹿角        3 - 1        大阪櫻花,大阪樱花不行啊,输了2个球,不能相信的,黑了
回复 支持 反对

使用道具 举报

2526

主题

5万

回帖

8557

金币

钻石用户

积分
176508

万时之王老会员精华勋章勤奋勋章交易勋章

发表于 2025-9-25 12:51 来自手机 | 显示全部楼层
dollar 发表于 2025-9-24 07:50- ?& o& _- E/ `* y& n3 z. |1 S
3-1主队很给力打出来赢球了,楼主的推荐客队受让盘口输掉了
. \- W; K& _% o: P( T
这场球比赛结果3:1,客队输球了,楼主推荐客队+0.5球的盘口失败,可惜
回复 支持 反对

使用道具 举报

2526

主题

5万

回帖

8557

金币

钻石用户

积分
176508

万时之王老会员精华勋章勤奋勋章交易勋章

发表于 2025-9-25 12:52 来自手机 | 显示全部楼层
七秒记忆 发表于 2025-9-24 10:57! g1 J4 A; O9 B& O
鹿島鹿角        3 - 1        大阪櫻花,大阪樱花不行啊,输了2个球,不能相信的,黑了

! y" G5 V3 F/ V9 W4 P# X) N: n' O这场球客队不给力,输球的了,运气不好也是无奈的,希望下次顺利吧
回复 支持 反对

使用道具 举报

2526

主题

5万

回帖

8557

金币

钻石用户

积分
176508

万时之王老会员精华勋章勤奋勋章交易勋章

发表于 2025-9-25 12:52 来自手机 | 显示全部楼层
allin 发表于 2025-9-24 10:43
  \% ^# t3 V# V1 m$ j6 C6 q/ G6 F楼主的推荐黑一场也是无法避免的 期待楼主明天可以赢盘啊

$ Q' q8 m6 L3 t2 z( o5 K球赛很多时候也是看球队的临场发挥,这次没有看对也是正常的,希望下次顺利
回复 支持 反对

使用道具 举报

您需要登录后才可以回帖 登录 | 立即注册

本版积分规则

广告合作|评测有奖|福利汇|论坛简介|钱包合集|手机版|小黑屋|Archiver|海燕论坛

快速回复 返回顶部 返回列表